本實用新型提供了一種新型的箱形伸縮臂,該箱形伸縮臂上設置有滑塊裝置,包括限位裝置和帶槽滑塊等,并且該帶槽滑塊直接安裝在伸縮臂筒體內,從而伸縮臂的頭部結構可直接套裝在伸縮臂筒體外,以減小伸縮臂頭部的縱向尺寸;將傳統箱形伸縮臂用以放置伸縮臂頭部滑塊的箱體改良為滑塊裝置,不但簡化了伸縮臂的結構,降低了其整體重量,提高了整車的作業性能,而且還增大了伸縮臂的全伸長度和作業范圍;同時,該箱形伸縮臂可通過增加滑塊裝置的長度來有效改善力傳遞和應力過于集中的問題,便于制造生產、拆裝維護,從而進一步提高生產效率。
附圖說明
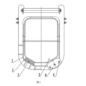
圖1為本實用新型實施例中箱形伸縮臂的結構圖。

具體實施方式
為了更加清楚地理解本實用新型的目的、技術方案及有益效果,下面結合附圖對本實用新型做進一步的說明,但并不將本實用新型的保護范圍限定在以下實施例中。如圖1所示,一種箱形伸縮臂,包括伸縮臂筒體1,所述伸縮臂筒體1上設置有滑塊裝置;所述滑塊裝置包括設置在所述伸縮臂筒體1上的限位裝置2和帶槽滑塊3,該帶槽滑塊3的一端放置在所述限位裝置2中;所述限位裝置2為U型槽擋板,所述帶槽滑塊3的一端放置于該U型槽擋板的U型槽內;所述限位裝置2焊接固定于所述伸縮臂筒體1上;該箱形伸縮臂的頭端部4設置有擋住所述帶槽滑塊3的另一端的端部擋板5;所述端部擋板5通過螺栓螺母6固定于箱形伸縮臂的頭端部4。